Calculating the concrete volume of an isolated footing seems like hectic.
We have explained the process (with diagram) step by step using this simple trapezoidal footing formula. Also embedded an easy to use trapezoidal volume calculator.
Note: For a better view, read this post on landscape view if you are on the mobile device.
How to calculate the concrete quantity of a trapezoidal footing?
An Isolated footing area may be in rectangular or square shape. We have explained the process for both shapes.
First, We have to calculate the below rectangular part separated by the dotted line (refer the diagram), using rectangular area formula.
Don’t forget to check out Basic Surface Area Formulas.
- For rectangular, the Area = A x B
- For Square, the Area = A2 (assuming A=B)
Check out different types of Trapezoid Geometry.
Trapezoidal Footing Formula with drawing
Trapezoidal Footing Volume,
V = h/3 (A1+A2+√(A1 x A2))
Where, h – Height of trapezoidal (refer the diagram)
A1 – Area of the lower shape
A2 – Area of the upper shape
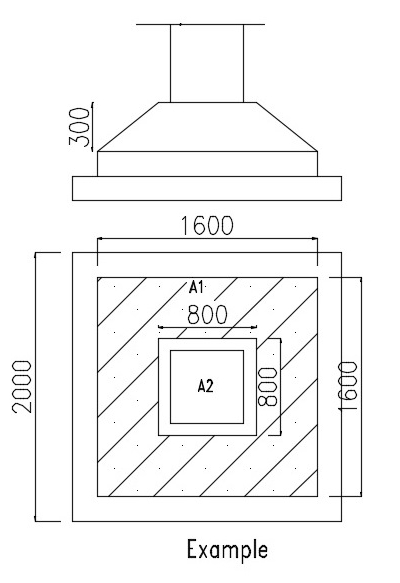
Trapezoidal Footing Volume – Example Calculation
Let’s take this example and solve,
Calculation
We know the formula,
Here, we have assumed square footing,
V = h/3 (A1+A2+√(A1 x A2))
{ Where, A1 = 1.6 x 1.6 = 2.56 m2 ; A2 = 0.8 x 0.8 = 0.64 m2 }
= 0.3/3 ( 2.56 + 0.64 + √(2.56 x 0.64))
V = 0.448 m3
We have also created a simple calculator tool. Make use of it.
Trapezoid Footing Volume Calculator – For Square Footing
Trapezoid Footing Volume Calculator – For Rectangular Footing
Got any errors on the calculator? Let us know to fix it.
If you found this article and the calculator helpful, please share with your friends.
Happy Learning 🙂

